
Professional manufacturer of hoisting machinery and equipment
Your current location:Home > Product>Geared Trolley· High quality steel plate to ensure safety and reliability.
· Combined mechanism to ensure convenience and practicability.

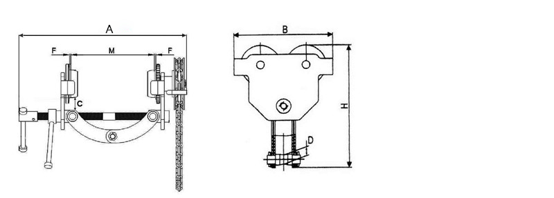
Parameters:

Copyright Tongling Shendiao Machinery Manufacturing Co., Ltd
皖ICP備05020254號-1
皖公網安備 34070202000208號
technical support:whtime.net
Tel:+86-562-2681518
Phone:+86-13856256638
Address:No. 618 South of Taishan Ave., Tongling city of Anhui Province, China
E-mail:tlsd@fd-hoist.cn